• 网站首页
  • 公司简介
  • 产品展示
  • 产品目录
  • 企业动态
  • 联系我们
  • 电子邮局

产品展示

  • 电动润滑泵
  • 手(脚)动润滑泵
  • 加油泵
  • 双线分配器
  • 单线分配器
  • 换向阀、操纵阀及其附件
  • 稀油润滑装置及稀油站
  • 稀油润滑元件
  • 管件部分
  • 油气润滑元件

联系方式

电话:0513-83325673 传真:0513-83119878 手机:13862978163 地址:江苏省启东市汇龙镇中央河中路691号E-mail:13862978163@126.com
 
塑料管夹JB/ZQ4008-97
一、概述
  适用于以油、水、气为介质的管道固定用塑料管夹。工作温度为-5~+100℃。
  A 系列管夹适用于中压、低压(PN≤8MPa)管道的固定;B系列管夹及B系列Ⅰ型组合安装管夹适用于中高压、高压(PN≤31.5MPa)管道的固定。
二、外形尺寸
1.1 A系列管夹的型式和尺寸见图1和表1。
表1
型式
管子
外径
Do
A
A1
C
H
H1
h
螺栓
重量
kg≈
型式
管子
外径
Do
A
A1
C
H
H1
h
螺栓
重量
kg≈
d
L
d
L
I
6
28
33
-
32
19
6
M6
20
0.06
II
20
48
53
33
42
24
6
M6
30
0.14
8
22
10
25
12
28
70
75
52
64
35
50
0.19
II
6
34
39
20
0.08
30
8
32
10
34
12
40
14
40
45
26
40
23
25
0.12
42
16
48
86
91
66
72
39
60
0.22
18
50
 注:静压油腊润滑管路,压力至10MPa,仍可选用A系列管夹。
1.2 B 型管夹的型式和尺寸见图2 和表2
表2
型式
管子
外径
Do
A
A1
B
B1
C
H1
H2
h
s
螺纹
重量 kg≈
d
L
I型
II型
I、
II
10、12
55
73
30
60
33
48
24
8
2
M10
45
0.3
0.6
14、16
18、20、22
70
85
45
64
32
60
0.4
0.8
25、28
30、32、34
84
100
60
76
38
70
0.5
1.0
40、42
48、50、57
115
150
45
90
90
110
55
10
3
M12
100
1.8
3.6
60、63.5
76、89
152
200
60
120
122
140
70
3.5
M16
130
2.5
5.0
102、108
205
270
80
160
168
200
100
15
4.5
M20
190
5.5
11
114、127
138、140
250
310
90
180
205
230
115
M24
220
8
16
159、168
  注:当管路介质压力较高时,可选用B系列I型和II型,但需缩小相邻管夹间距。
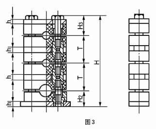
1.2.1 B 型系列Ⅰ型组合安装夹的型式和尺寸见图3 和表3。
a)同一外形尺寸的B 型系列Ⅰ型管夹,可叠垒成组成安装,但最多不超过5 根管子。
表3 mm
管子外径
Do
10
12
14
16
18
20
22
25
28
32
34
40
42
48
50
57
60
63.5
76
89
102
108
114
127
133
140
159
168
H3
31
39
45
63
80
113
130
T
40
56
68
100
130
185
215

b)尺寸计算 H=H2+H3+(N-1)·T
式中:N ——管子根数:
T ——相邻管距(见表3),mm;
H2、H3见表2和表3
◎注:组合安装管夹的每组重量可近似按(N-0.5)乘以表2中的单件重量。
2.1 标记说明
A 系列Ⅰ型、管子外径为12mm的塑料管夹:
塑料管夹A(Ⅰ)12 JB/ZQ4008-97
B 系列Ⅱ型、管子外径为28mm 的塑料管夹;
塑料管夹B(Ⅱ)28 JB/ZQ4008-97
B 系列Ⅰ型组合叠装、管子外径为22mm的3根、管子外径为28mm的2根的塑料管夹;
塑料管夹B(Ⅰ)22×3-28×2JB/ZQ4008-97
三、管夹承载能力
(A1,A2 及图A1,图A2)
A1 表示方法:管夹承受管子轴向力的能力大小,用曲线图表示。
A2 具体内容:图A1 用于“A 系列管夹”;图A2 用于“B 系列Ⅰ型管夹”。a 曲线表示管夹与管子处于“静摩擦状态”时,管子外径尺寸与管夹承受管子轴向力的函数关系。b曲线表示管夹与管子处于“动摩擦状态”时,管子外径尺寸与管夹承受管子轴向力及转矩的函数关系。

四、安装说明(B1~B3)
B1 管夹底板采用焊接法固定在焊接板、钢梁、轨道上。应注意焊接板、钢梁、轨道的固定必须牢靠,其所受负荷要保持在允许范围内(参考图A1、A2)
B2 安装时,相邻管夹的间距,应保持在1-3m 的距离。
B3 管路安装时,在弯管处其弧形部分之后,就应安装管夹。(见图B1)。
网站首页 公司简介 产品展示 产品目录 企业动态 联系方式
电话:0513-83325673 传真:0513-83119878  手机:13862978163       
地址:江苏省启东市汇龙镇中央河中路691号 邮编:226200  E-mail:13862978163@126.com 
版权所有:南通沃尔驰石化工程有限公司