• 网站首页
  • 公司简介
  • 产品展示
  • 产品目录
  • 企业动态
  • 联系我们
  • 电子邮局

产品展示

  • 电动润滑泵
  • 手(脚)动润滑泵
  • 加油泵
  • 双线分配器
  • 单线分配器
  • 换向阀、操纵阀及其附件
  • 稀油润滑装置及稀油站
  • 稀油润滑元件
  • 管件部分
  • 油气润滑元件

联系方式

电话:0513-83325673 传真:0513-83119878 手机:13862978163 地址:江苏省启东市汇龙镇中央河中路691号E-mail:13862978163@126.com
 
DDRB-N型多点润滑泵(31.5MPa)

一、概 述

DDRB-N(原ZB)型多点润滑泵适用于润滑频率较低,润滑点在50点以下,公称压力为31.5MPa的多线式中小型机械设备集中润滑系统中,直接或通过单线分配器向各润滑点供送润滑脂的输送供油装置。特别适用于冶金、矿山、重机、港口运输建筑等单机设备。



二、技术参数

出油口数
公称压力Mpa
每日排量ml/次
贮油容积L
给油次数
电机功率kW
重量kg
1~14
31.5
1.8;3.5
5.8;10.5
10 30
22
0.18
43

使用介质为锥入度不低于265(25℃,150g)1/10mm的润滑脂或粘度等级大于N68的润滑油,工作环境温度为-20~80℃。


三、型号说明                            
          
四、动作说明
 
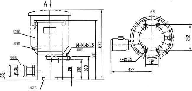
DDRB-N型多点润滑泵主要由贮油器、减速机构、压油柱塞泵和电动机等部分组成。
电动机驱动蜗杆、蜗轮减速转动,蜗轮轴带动偏心驱动轮以低速转动,由驱动轮的拉盘带动压油柱塞泵元件柱塞作往复的吸压油运动,从而各泵元件的出油口向外排出润滑剂。
 
五、外形尺寸
 
六、使用要领
1、该型多点润滑泵应安装在环境温度合适,灰尘少,便于检查、维护保养及方便补脂的地方。
2、向贮油器内补脂必须使用加油泵从贮油器的加油口加入,严禁揭盖加入不经过滤的使用介质。
3、按贮油器筒壁上旋向牌规定的旋向进行电机接线,不得反转。
4、给油口数可在1~14范围内任意选择,根据设备需要不用的压油柱塞泵元件可以自行拆下,螺孔用M20×1.5螺塞封堵即可。
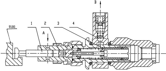
5、给油量的调整,按下图调节序3螺套的位置即可获得。
1—工作活塞 2—控制活塞 3—调节螺套 4—单向阀
 
网站首页 公司简介 产品展示 产品目录 企业动态 联系方式
电话:0513-83325673 传真:0513-83119878  手机:13862978163       
地址:江苏省启东市汇龙镇中央河中路691号 邮编:226200  E-mail:13862978163@126.com 
版权所有:南通沃尔驰石化工程有限公司